Search
QINGDAO LG RIGGING CO.,LTD.
QINGDAO LG RIGGING CO.,LTD.
LGRIG® Marine Double Bollard GBT554-2008 Type B
LGRIG® Marine Double Bollard GBT554-2008 Type B

LGRIG® Marine Double Bollard GBT554-2008 Type B

Marine Double Bollard, also known as Double Bitt Boat Bollard.

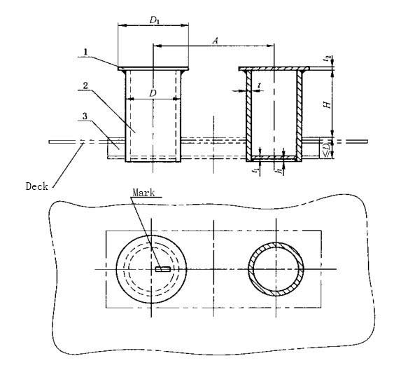
GBT 554-2008 specifies Type B marine bollards, which are designed to secure medium-sized vessels to piers, wharves, or quays. Featuring a cylindrical shape with a base plate for bolting to the ground, these bollards are constructed from cast iron or cast steel and have a smooth surface to minimize wear on mooring lines.

The standard defines dimensional, material, and load capacity requirements, with rated capacities typically ranging from 20 to 200 metric tons.

Commonly deployed in ports, marinas, and similar marine facilities, Type B bollards are engineered to withstand environmental forces—such as wind, waves, and currents—as well as the dynamic loads imposed by moored vessels, ensuring reliable and durable mooring performance.

Trawling Gear
Hooks
Shackles
Boat Fittings

Informations of LGRIG® Marine Double Bollard GBT554-2008 Type B

Brand

LGRIG®

Material

Steel Plate

Standard

GBT554-2008 Type B

Style

Marine Double Bollard


Specifications of LGRIG® Marine Double Bollard GBT554-2008 Type B

drawing-marine-double-bollard-gbt554-2008-type-b-lgrig.jpg

Part No.

Nominal

Dia.

(mm)

Max.

Breaking

Load

(KN)

A

D

D1

h

≧t

≧t1

t2

H

Deck

Without

Plywood

Deck

With

Plywood

LGDB55408B160

160

49

400

168

210

8

10

6

9

250

310

LGDB55408B200

200

78

500

219

270

8

10

8

9

300

360

LGDB55408B250

250

118

630

273

335

8

11

10

9

380

440

LGDB55408B315

315

196

800

325

390

10

15

12

9

480

540

LGDB55408B355

355

255

890

351

420

10

17

13

12

530

590

LGDB55408B400

400

314

1000

402

480

10

18

14

12

600

660

LGDB55408B450

450

382

1130

450

545

10

19

16

12

680

740

LGDB55408B500

500

451

1250

500

600

12

20

18

12

750

810


We are a professional manufacturer and supplier of Trawling / Rigging / Stainless / Yacht Equipments in China
Contact LG RIGGING NOW
Request a Free Quote
Upload
or drag files here.

Related Cleats & Fairleads

China LG RIGGING's Updates
Copyright © QINGDAO LG RIGGING CO.,LTD. All Rights Reserved.
sales@lg-lifting.com
+86 19524345486